皇冠信用網正网 | 37岁男演员于朦胧被传坠楼,7月刚注销工作室,警方回应
时间:2025-09-11 阅读:2267 评论:152
皇冠体育比分(www.hg0088.us)-会员开户_登3代理>皇冠体育/—开会员账号—皇冠信用网招登1登2登3<平台出售>据中国蓝新闻,9月11日,演员于朦胧冲上热搜,有网友称于朦胧今日在北京坠楼,目前于朦胧方无回应皇冠信用網正网。
于朦胧主页显示,其上次更新动态是8日前,昨天21:31还上线了微博皇冠信用網正网。目前,于朦胧方暂无回应。
据三湘都市报,记者联系了北京市朝阳区常营派出所,派出所民警称没有收到相关消息皇冠信用網正网。
展开全文
于朦胧,1988年6月15日出生于新疆维吾尔自治区乌鲁木齐市,毕业于北京演艺专修学院,中国内地男演员、歌手、MV导演皇冠信用網正网。
2007年,参加东方卫视选秀娱乐节目《我型我秀》,获得西安站16强皇冠信用網正网。2010年,参加选秀节目《快乐男声》被选入“快乐天团”候选人;同年,担任丁爽歌曲《61秒》的MV导演。2013年,参加湖南卫视选秀娱乐节目《快乐男声》,获得全国总决赛第十名。2015年,主演的古装穿越剧《太子妃升职记》播出,获得大量关注。代表作品有《三生三世十里桃花》《太子妃升职记》《永夜星河》《一伞烟雨》等。
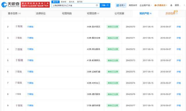
天眼查任职信息显示,于朦胧名下关联2家工作室,分别为上海起萌影视文化工作室、东阳鲜萌影视文化工作室,均为注销状态皇冠信用網正网。其中,上海起萌影视文化工作室成立于2017年8月,于2024年11月注销,出资额500万人民币,为于朦胧个人独资企业。知识产权信息显示,该工作室已成功注册多枚“于朦胧”商标。此外,东阳鲜萌影视文化工作室成立于2016年9月,于2025年7月注销,出资额0.05万人民币,为于朦胧个人独资企业。
猜你喜欢
- 2025-10-20皇冠信用网代理怎么申请_男子在家独饮醉酒后凌晨打120求救 医生敲门无人应答,消防破门解救
- 2025-10-19皇冠信用網平台_河南1-0领先亚泰!迈达纳斜传,纳萨里奥高难度停球撩射破门背后的战术解析与球迷反响
- 2025-10-19如何找当地皇冠代理_对华征税500%!美国就差临门一脚,突然发现中国还把着一个命门
- 2025-10-19皇冠信用网足球代理_3256平米别墅288万起拍,单价不到900元,内景配置曝光,目前0人报名;拍卖商回应:在开发商名下,想通过拍卖吸引更多人参与
- 2025-10-19皇冠信用盘网址_独家采访丨陈震首次还原撞车事件
- 2025-10-19皇冠信用网怎么申请_曼晚评分:哈兰德奥赖利8分,阿克仅获5分,福登多库赖因德斯6分
- 2025-10-19皇冠信用网开户_强冷空气明晚杀到深圳!大风大雨来了!
- 2025-10-18如何申请到皇冠信用_最低将至0℃以下!石家庄未来三天最低气温持续下滑
- 2025-10-18皇冠体育App下载_陈伟霆官宣生子,王晶:他花了很长时间才红的
- 2025-10-18皇冠登3平台出租_落后榜首9分!中超-张玉宁破门难救主 国安爆冷1-2深圳
- 2025-10-18皇冠信用登123出租_清华大学发文悼念杨振宁,学校官网已转为黑白
- 2025-10-18皇冠信用盘_陈伟霆何穗官宣生子:爸爸、妈妈还有他!
网友评论